
ILL CONCEPTIONS
A thesis debating the ill conceptions in man - if perhaps it may be for healing.
CHAPTER
59
INDEX
TO OTHER PAGES
Mass and weight
Science has this that: "Since most masses on earth are usually proportional to their weight, both properties are typically expressed in terms of weight. But that in the physical sciences, mass and weight are distinct."
"Mass" is said to be "an inertial property" having the tendency to remain at constant velocity unless acted upon to the contrary. While "weight" in turn is the force created when a mass is acted upon. (like gravity).
"Weight" then is said to vary with the force of gravity, while mass does not. Mass is held as a fixed volume, a quantity of substance.
There is however an inconsistency here in the sciences - since one ton of mass upon the earth, located at sea level at the Equator, when expressed as one ton of weight, is wrong, since the g/force on that one ton of mass is not 2,000 lb but 2,221 lb, while the volume of the mass remained the same.
We could therefore correct upon this that weight is an independent factor relevant to mass. Weight as such is an inertial mass, and varies with force.
We then ought to refer to mass as simply a volume substance. or quantity of substance. But no matter how we look upon it -- as weight is known for its inertia to a factor of force, so mass is never without inertia either. There is therefore an inconsistency in our terminology, which has come about for the lack of knowledge in the cause of gravity.
GRAVITY
In the on-line encyclopedia one said
quote: "The
gravitational attraction that the moon exerts on earth is the major cause of
tides in the sea." What
then shall we say, that it is the encyclopedia that errs?
It is not the encyclopedia, but the persons that write it.
How foolish not to realize that it is not the earth to orbit the moon, but the moon to orbit the earth, it is therefore not the moon to place a gravitational draw on mother earth, but rather the other way around.
It is the power of the force directed from the earth to perform but this function on the moon - to hold it in orbit, -- nor is that gravity since it does not reach it.
It has no relevance whatsoever to the
tides. Not the gravity of the
moon therefore, but its inertial impact into the centrifugal is that by
which ultimately the tides are born upon earth.
And that which they pronounce under "Gravity and magnetic
fields," is so far out of whack, it is like a new-born talking.
And yes I must show man for his ignorance in that a tug of war is always won by the stronger. And how shall he not know that the gravity of the moon is but small in comparison to that of the earth?
Why is it so difficult for men to realize that it is not the cart before the horse by which it is drawn, and that two plus two does in fact add up to 4? Is man truly that ignorant, is man that blind, so utterly blind?
Why always the mumbo jumbo that some men like to put down as if by some
miracle they might be assumed wise, when it is by factual reality in simple
terms that sets the wise apart from the unwise.
"Ill conceptions" is indeed a term by I came to speak of these things, to show man the folly of their way, if perhaps these might adapt themselves to what is commonly known as common sense, and/or logical reasoning.
And now note from persons like Marten Luther, and other so called pastors of sort how these concluded that logic and common sense is of the devil. It is rather Marten Luther to have come from the devil, since logic is not any part of the devil.
The devil does not want us to go by common sense and logic since it brings forth knowledge, good for us but not to his advantage.
If thus the devil does not want us to utilize common sense and logic, by all means practice it so that you may not fall into his clutches, but instead come to a good knowledge that is of God, the Creator of all things and all creatures.
Someone wrote:
"Gravitation
is one of the four fundamental interactions of nature, along with the strong
force, electro-magnetism, and the weak force."
What folly to say, strong force, or weak force, and not rather to name them by their nature of being, since as I factually know they are but the folly of man. I know that these refer to the atom, but to say force in either the terms of strong or weak is not rational.
It is simply movement that proceeds within, and of the atom. Man himself conceded to that by inventing electrons to orbit a core.
If then they wish to denote an agent in power to hold these rascals in place, they have already done so by inventing charges as positive and negative, none of which could possibly exist by any law of nature. How then am I to reply upon that which does not exist?
And to name electro-magnetism with a subject of
gravity is simply for first graders,
since that is no more than electricity in its nature of being, or at least for the
first graders among men that term may be utilized, the mature however leave off
the word "electro."
While for that so called relativity in which the as yet unborn relish, plastering the picture of their love affair with one of the most ignorant persons ever to become known in science on their walls, lacks all dignity to even reply upon, as one may notice from the tone of my voice here.
There are however a few among us with a better sense of reality.
One of these is named Ellery Schempp, and this is what he wrote:
"All
physics textbooks should include this warning label": "This textbook
contains material on gravity. Universal gravity is a theory, not a fact,
regarding the natural law of attraction. This material should be approached with
an open mind, studied carefully, and critically considered."
This man may be in error in some things, but in the above he shows a degree of common sense, as he also further wrote, quote:
"The existence of tides is often taken as a proof of gravity, but this is logically flawed. Because if the moon's “gravity” were responsible for a bulge underneath it, then how can anyone explain a high tide on the opposite side of the earth at the same time?
Anyone can observe that there are 2 -- not 1 -- high
tides every day. It is far more likely that tides were given us by an
Intelligent Creator long ago and they have been with us ever since. In any case,
two high tides falsifies
gravity."
The dual tides do not in effect falsify gravity, but then the "Intelligent Creator" that he speaks of would condemn all men to eternal death if men were capable in themselves to discover the nature of gravity, which shows the foundations upon which the earth rests. Yet he makes good sense regarding the tides.
If then any man scorns the devil by using common sense; it must be obvious that gravity pulls down to earth, not upwards from the earth. How then is gravity linked with the waters going up against gravity? For that is common sense is it not?
Then
again he states:
Instead of 10% the data with the Hubble telescope shows it about 7% decrease. But like all other men that are so hip on knowing gravity, to them it exists only by a measure in acceleration. These are unable to get away from that free-fall, as if maintaining a stable orbit is falling into something.
For the same
may be said that it is constantly accelerating away from its orbital path, since
in fact it is the centrifugal inertia attempting to drive it away from its
vector, while gravity steps in to hold it in equal proportions to that
centrifugal impact.
You see now they got me speaking like unto them, for would it not make better sense to state that it is constantly changing direction, rather than acceleration?
Simply
said; the
term acceleration, should never at all
be used, unless,
and I repeat, unless there is a factual increase in velocity, anything to the
contrary makes
us
look like babes still on their mothers breasts.
The following statement is therefore quite in error, quote: "In Newton's view, astronauts in Earth orbit are in free fall, since they are in effect falling around the Earth. They are accelerated by gravity toward the Earth, but their inertia in the direction tangential with their path results in a curved path around the planet. In essence, they are always missing the planet in their fall toward it."
The words:
"They are accelerated by gravity," is the gravest of errors. It should
read; "They are held by gravity."
My enemies like to do so with my words, twisting the meaning, as so many do with the words of the Almighty Creator of man. And how close did man come to discovering gravity? Here is one citing as he calls it "A new law of physics." Quote:
"This site is about that most mysterious of forces - gravity. Much has been written about gravity and trillions of hours of human motion has gone into studying gravity. From Sir Isaac Newton onwards we obtain the word "gravity"? or at least the concept - I have not studied the etymology of the word.
One of the reasons gravity seems so mysterious is that if one goes to physics textbooks the dynamics of gravity are always well defined, but the causes are conspicuously absent."
There are no longer any spelling errors here since I corrected them, how careless when one places words for others to read! He however hits this on the head that the causes to gravity are always conspicuously absent.
This of course is for no other reason than that it is withheld from them by the Almighty Teacher of man. For I wish once again to reiterate that it is not for man to discover the nature of gravity, nor how these fundamentals are placed upon which the earth rests.
He for his part in presuming that he could do so, would be the death of all of us, wherefore it is criminal, and mass murder to even presume one could discover the nature of gravity. And why may that be so? Because by Jeremiah 31-37, the Lord said:
"If the heavens above can be measured, and the foundations of the earth below can be explored, then I will cast off all the descendants of Israel for all that they have done, says the Lord."
Do not therefore think yourselves so competent to outdo your Creator, as if there were a better knowledge in you than in Him who made these very foundations and set the earth upon it.
And yet then again by the prophet Esdras, the prophet wishing to know a token by which the beginning of the end might be known, the Lord spoke saying:
"Stand upon your feet and
hear a mighty sounding voice and it shall be as were it a great motion, but the
place where you stand shall not be moved.
Therefore
when it speaks, be not afraid, for the word is of the end and the foundations of
the earth are understood. For at
the sound of these things they will tremble and be moved, for they know that the
end entails change."
I am drawing your attention to that part where it states how before the end, the foundations of the earth were to be understood.
Wherefore if one is competent to put two and two together it is a certain fact that the Lord Himself would reveal these foundations to at least one person, who in turn might teach others, and consequently the discovery thereof would not be in man, as also He confirmed by Isaiah.
If then you are skeptical let me assure you that as certain as you are pulled to the earth - so certain and more these words will be brought to bear. In their futile attempt to discover the cause to gravity man did however come to some sign-posts.
The law of Newton into the centrifugal is one of them, and for more, allow me to quote more words from the previous person:
"If Gravity is derived from the individual atoms in our universe....you might as how ? Its cause turns out to be first and foremost dimensional expansion of atoms and the subsequent sharing of interior atomic space among atoms."
Here he touches upon individual atoms, he however did not take them to their inertia as Newton did in his law, but made a mumbo jumbo of it. Then as he said:
"It all has to do with the shape and electrostatic balance of atoms...it makes a direct link to magnetism though it is not universally present due to gravity....but the relationship cannot be disputed where it is present."
He passed the signpost by mentioning "magnetism" and how its relation to gravity cannot be disputed, for the rest it is way out of sight. Then he states:
"Gravity is in a sense he (the) opposite of an explosion (true anti gravity). Gravity achieves high density but its cause is the input of energy whether kenetic (kinetic) or thermodynamic...It is now a proven fact thanks to the radiometer proofs."
If one is not careful about his spelling, how can he be trusted with physics? If then we make an "Implosion" will we float up from the earth? And what for a cause is it to say "an input of energy," for what then is put in, secondarily, or by heat? Do we weigh more when we are in fire?
Yet he is determined to murder us all, by stating: "The cause of gravity is (solid state) convection. Gravity is an open ended inertial flow mechanism - like a vacuum."
Convection, like going around in circles, is that the way to keep our feet upon the ground? He did however pass by this signpost that read "inertia," but it never dawned on him, that it factually read inertia.
If then an open tube is the same as a vacuum, we must have missed a class here or there, for these things are not even to be commented upon. People simply never read; words do not ring through to them:
How clearly for example did not did Luke specify the date of Christ's birth into this world as in the month of June, yet how then does the whole world celebrate it in December? Is it because all the world is ignorant we me alone having knowledge and able to read? It certainly appears that way!
Next,
from another source who also never paid attention to the words of his Creator,
and set himself up to murder all mankind, quote: "One of the biggest questions that has puzzled mankind
throughout the ages is how gravity works.
This new gravitational theory not only explains how gravity works, but shows how errors can arise in determining the positions of space probes, in determining the mass of the earth and other planets and in determining the value of G, the universal gravitational constant.
This new theory of gravity is part of a more general Unified Field Theory (UFT) that shows how all of the known force fields work together. The general model now being used to describe the gravitational field proposes that gravitational waves run transverse to the direction of propagation of the gravitational energy. As predicted by Einstein, gravitational energy would travel at the velocity of light."
His theory yes, and that unified? What makes man think that everything is in waves? Has the phenomena of light so blinded him to see nothing else?
While as for that prediction, long before that person who never got anything right in his life, men were aware that light traveled at its speed of light classifying it upon the electro-magnetic spectrum. How then is a well known fact a prediction?
Now as for the rest of what was written it is no more than sheer nonsense not worthy of any comment, and I hesitate to name the source, since I am compassionate, nevertheless I abhor arrogance as well as ignorance, and more so the accursed pride in man to speak by it.
Then there is another that needs to be shown to rational men for what he factually is - about as ignorant as Einstein was, one that factually angers me, having the gall to proclaim himself an Evangelist, along with being a scientist, who attempted to promote, quote:
"Things fall not because they are acted upon by some gravitational force, but because a higher intelligence, 'God' if you will, is pushing them down," said ......., who holds degrees in education, applied Scripture, and physics from Oral Roberts University."
O come now, a degree in the Scriptures, and in physics? Whom does he think he is kidding? He dug his degrees out from under the slime that lies in the gutter, and never at all understood a word that is written in the Scriptures.
Saying from the letter of the Scriptures: "And if the blind lead the blind, both shall fall into the ditch." He says nothing about some gravity making them fall—just that they will fall."
Indeed therefore that man will fall, but it is into death, into perdition rather than to the earth, for his absolutely foolish remarks that not only borders on criminal attitude, but is punishable by death for the corruption of the word of God.
Watch therefore what you speak, and what words leave your lips, for by them you will be judged.
Someone asked the experts what would happen if the earth rotated faster or slower? He replied:
"The Earth's rotation has only a small effect on gravity, about 0.5%. This effect was only observed after pendulum clocks were introduced their timekeeping was compared to the motion of stars across the sky (the period of a pendulum depends on gravity).
Without sensitive instruments you won't notice a thing. The earth's rotation definitely exerts a force on you, but you don't feel it because it is small, a fraction of 1% compared to your weight."
So now the gravity that always points downwards, works sideways? It is truly amazing what all the mind of man can come up in the ignorance thereof. Perhaps he never heard of the laws of Newton, or perhaps he never was in a vehicle making a turn upon the road, or sat in an airplane taking off, or perhaps mathematics is beyond his means.
The effect of earth's rotation (depending on location) adds more than 9% to a persons weight, or g pull as it is, anyone with common sense should know that.
He is actually going in reverse as he said: "This can be a confusing problem. At the poles all you observe is weight, the force of gravity. At the equator, viewed in a rotating frame of reference, you need subtract the centrifugal force."
I never knew that the scale at the equator shows our full g/force which then must subtracted from the centrifugal. Or, perhaps he is so unique that going in a turn, he is pushed into it, the inertia working in reverse. All such persons must be very wicked for the Lord to have closed their mind to that extend for common sense.
But of what use is it to show the foolish for their folly, to make ourselves like unto them.
WAVES
Now let us speak a little on waves to their nature. When there is an earthquake in the sea bed you will observe a wave, which is rather a compression wave, driven forward by a spike.
Sound waves consists of oscillations, (should be "vibrations") since it is a back and forth movement of atoms, if then light were by oscillations, (vibrations), where is their sound when you turn on a light-bulb?
A
water wave can be seen as a spike to press on, so light may be seen as a spike,
to place a coordinate in wave formation upon the ever magnetic strings that
pervade the whole of the universe. If
this were not so, there would be no gravity, nor would you have air to inhale
within your lungs.
Longtitudal is possible since they depict
the manner in which sound is set forth, while transverse is not possible
upon the media as depicted since the media is essentially doing the same thing
that sound waves perform but from side to side. And wherefore then do they not
act perpendicular to their direction of propagation - as they must?
If you will note in the following two illustrations, Lwave, and Twave, which the scientist use to justify their illogic, in the longtitudal wave (sound) the particles (atoms) move (as in vibrate) back and forth, one to the next in line causing it to move and so on.
Then looking at the so called transverse wave (Twave) the particles are doing exactly the same thing, one bouncing up against the next in line, only not into the direction to which the wave is supposed to travel.
This type of wave - with atoms acting just the same as with the longtitudal wave - must for all reality cause sound to be heard, just as it is with any and all sound wave phenomena.
Click on picture for full view
Do we not realize that this scenario cannot in nature be upon the fundamental parts of nature, but only upon the media as a whole, like unto a string or rope tied off on both ends? The very absence of sound alone proves them not to be relevant to any fundamental part of the media.
Like as in water there is no action at the fundamental particles of the media, but upon the media (the water) as a whole, the water rolling in circles as the spike in its compression moves forward.
A transverse wave now must be secured at both ends if the direction of propagation is to be from left to right, otherwise with the particles moving up and down the direction of propagation will be likewise.
If then for the nature of light man will classify it as transverse, be at least a man - and remove its spectrum from the magnetic table, that which man erroneously calls the electro-magnetic spectrum. Or if you refuse to do so, than acquire a better knowledge in the nature of light.
Then of course these animations are not anything like the real thing, light for one thing travels by a diameter, or amplitude, no larger than a single atom, why then do we want electrons to move back and forth over the space of a single atom and not rather be a part of the atom, as they are supposed to be? Moreover, I have sufficiently shown how waves move through the media.
There now is someone that does not agree
with man's erroneous notion about light being transverse as he said: "Transverse waves cannot propagate in a
gas or a liquid because there is no mechanism for driving motion perpendicular
to the propagation of the wave."
Seeing then how light always operates in gasses and liquids, how long will it take man to realize that a wave in the transverse, no faster than a longtitudal wave - is never going to come to the speed at which light factually travels?
I will reveal this much, that the movement
of the velocity of the magnetic lines is at, or very near the constant of the
velocity of light, since light for its velocity is the magnetic velocity.
Electricity, the rotational magnetic wave, in itself proves it, to travel near
to the speed of light, since electricity is a magnetic coordinate, an angular
magnetic coordinate, to have a relative velocity that is found by its angular
moment into the constant, usually regarded as 300,000 km/sec.
A
particle movement in the nature of light is utterly impossible, no particle can
move back and forth or sideways to come to any velocity near to 300,000 km/sec,
considering also there is a lapse in the change of direction which can not occur
unless a full stop is implemented.
Do not these sentiments make perfect sense? And why then have we not realized these factual matters from long ago? How poor is man's correlation of things, and his logic so none existent?
It
is not without cause that I am ashamed of the race of man, and that for their
pride I came to have my sincere disgust of them, nor am I afraid to say so, even
to their faces.
Yet if to shame them into reality is a viable aspect I have not labored in vain. And if for their pride and arrogance my word is but an insult - so let it be, and let them fall headlong upon their own conceit, to be known for the fools that indeed they then are.
In a definition by the world of science, this was said quote: "An electromagnetic wave is a wave that is capable of transmitting its energy through a vacuum (i.e., empty space).
Electromagnetic waves are produced by the vibration of charged particles. Electromagnetic waves that are produced on the sun subsequently travel to Earth through the vacuum of outer space."
This sounds like a politician who can talk for hours and yet never speak a single word. Or like one of man's typical scientist, or physicist to put words together of which himself he has no conception of.
Let us take it to parts and begin to ask: What in the world a vibration of charged particles is?
When we think of vibrations, we understand it as a back and forth movement, something that is barely able to exceed the speed of sound. Then comes this term of "charged," which as far as I can determine must be of another world, of a world that does not exist.
Are they saying that the particle is electrified? That is has a rotational magnetic entity upon it? For in order to have electricity one needs whole atoms and a guide, a wire, a sure medium to place it upon. And where are those atoms in the wavelengths of light?
Or perhaps these are a bit wiser than we assume, and that a charge means that it has motion, or that it is in motion? And yes we conjectured that so since it passed us at near 300,000 km/sec.
So why then all the coy disguises, and not simply state that it is in motion, or that it has movement upon it?
And when
we do so - we had better define just what kind, or type of motion that may be, for
to say charge, and not define it any better is for babes yet unborn from their
mother. Of babes that never as yet have seen the light, wherefore they have no
conception in the nature of what light is in the first place.
If charge is motion, (as in fact it generally is) yes, they are moving mighty fast at near 300.000 km/sec. But why then did we not say - "moving particles, rather than utilizing that silly hidden term of charged? And if they are vibrating, you are in fact telling us that they are moving back and forth on a continual basis.
But by the same do you not realize that by applying that word "vibration" to your scenario of light, that with it - you just destroyed your whole conception in the nature by which light travels?
No doubt I am too deep to follow, so I must explain myself better. Sound then is a vibration of so called charged - (that is "moving") particles, and what does that do to their velocity of propagation? Do I now have to spell it out for no more than the speed of sound?
It is always that way - man contradicting himself in his own theories when they are but theories with no knowledge of reality. And if, as you say, space is so empty, how then is it so full of your - so called - charged particles, seeing how the whole of the universe is illuminated?
So you see how man does not realize his own contradictions.
But one will say, no Leonard, these are - as we said - simply produced by a moving (charged) particle that vibrates. All-right my friend, the sound upon the sun must therefore be deafening, we had better not go there.
But what then is it that travels down to earth through this so called vacuum, this empty space? Will it be a wave? But a wave of what? How do you get a coordinate the likes of a wave when it is nothing and travels through nothing, and by nothing?
How may I ask does a mere vibration of a small particle produce a wavelength formation that spans over hundreds if not a thousand full atoms to drive it forward?
It seems to me that if the power of a thousand full atoms in their - charge - which is their angular movement, is required to hold it, and set it forth, how can it be made by a a mere back and forth movement of some minute part? Is it of a mouse to tackle an elephant?
And how may we ask does a moving (charged) particle obtain that vibration which you mentioned? Is it - as you surely indicate - simultaneous with it?
Don't you think you ought to explain yourself better, how something on the move also goes back and forth, limiting that manner of progression to something less than a fraction of what it is supposed to produce?
No, my questions are not unwarranted for when we behold the waves of light upon the earth they are very well bound to the fundamental parts of nature, so much so that in encountering the face of a mirror at more than a billion kilometer/hr they instantly return.
What then do you think when any kind of particle however small, comes upon your prism to show you its many colors? I venture to say that; if in any way you are correct your prism would disintegrate in less than one second of time, and never at all show you any color.
Light is obviously by all experiments a wave, a coordinate, and that of and upon something which must be very real, since we know for a fact that it does arrive on earth through that so called emptiness of space.
If then the greater knowledge thereto is not given you, it does not justify you to manufacture such phenomena as is obviously impossible.
And this is besides the fact that you are assuredly aware of this - how the magnetic motion of the sun comes across all voids to hold the earth and all its planets clear down to Pluto. And I know that you know how light for its nature is termed a wave of the magnetic spectrum, something you call electro-magnetic spectrum.
You therefore have no excuse in not knowing better than to come up with such inconceivable statements as indeed you have done.
But for a greater knowledge into the voids of space through which light passes,- it is not merely that the Almighty Lord, my Teacher, prohibited my speech in that regard, but equally so in the wisdom which he implanted within me that I keep secret such things as are not on the menu for the children of this earth.
You on the other hand - as I demonstrated - should not be promoting what cannot possibly exist - seeing you ought to know better.
If nothing else, take it on faith, that light does get here through empty space, and in a waveform that is not without substance. And more my dear people I can not say unto you, or if you will so accept it, I refuse to say unto you.
One other sad thing that I beheld of man, that while he speaks of amplitude in the nature of light, he has no conception of what amplitude is, much less establish one for the nature of light.
The mumbo jumbo that he raffles off for the nature and propagation of light is not just terminally ill, but atrocious to even remark upon.
And I conjecture that the pages written by my hand will be more destructive upon the sons of men than any nuclear bomb could possibly do.
ATOMIC RINGS
How very poor is man's reasoning, and his logic and common sense none existent, quote as he said: "The electrons of an atom are bound to the nucleus by the electromagnetic force."
These persons truly have no conception of what in fact they are saying. For what is a magnetic force, and what is an electric force, if not that which is made up and set forth by atoms? How then is that which is made up by them, within them, to in other words have the cart pulling the horse?
Or like saying; the tools of the workmen are the houses fully built with which they built the house. A lot of sense that makes.
Or here where they said: "An atomic shell is an energy level. A given atom has a given number of occupied shells in neutral, un-ionized state." What then are we to presume for that energy, that it is power, like a power level?
But is not all of its motion power, and that at any level? Or is it standing still at any other level, and if so -- how does one speak of a level?
Is not man supposed to make common sense? There is none at all in their statements. For to say that electrons also travel in shells that are neutral, one had better say what these are neutral to.
And now watch how man will answer that, they will say that these are in an "un-ionized state." With "ionized" then they mean that they are charged, which to us - we know; means movement, that they are moving, presenting power.
To them however like a babe in its mothers womb, never having seen the light of day, these have no conception as to what the term charge means.
They are therefore in fact telling us that the electrons are standing still, having no movement, no ionization, unless our in-famous physicists first tells them in what radius of the core they are to take up movement, so as to compliment their theories concerning them. For that my reader is about the real truth of it.
Where they say: "When an electron in any atom is given energy (the right amount), it can skip up to another energy level. The atom has become ionized; the electron had gone to a higher energy level."
What in fact he is saying is; that when an electron is caused to move faster, it goes to a higher level. And, then for the most stupid part of all things to say, "Becomes ionized." In that it has increased its velocity.
Why not use simple English terms as I just did instead of all that atrocious nonsense by which to somehow make themselves look wise or educated, when in fact for it these show themselves, and will become known as the most stupid among the race of man.
If we think that a thousand or three thousand years ago man was ignorant of the reality in nature, I venture to say that the men of the twentieth century outdid them in ignorance and stupidity.
This is so since, so many years ago these at least did not make such a hogwash of the atom as those of the twentieth century have done.
The men of long ago did not have electricity, nor knew of magnetic force as we have in this century, wherefore we are far more guilty then these are since we by what we have and know today, ought to know better.
Take for example the notion of this century's scientists to acclaim that the sun consists of better than ninety percent gasses. Yet those same persons know very well how magnets consists of heavy matter, and that such magnetic force is not seen to be presented by gasses.
How then is the sun such a powerful magnet? The only thing upon their dinner plate from the sun are the wavelengths it presents, and by that they will tell the whole of the sun?
These men for their mind are exactly like a person looking at an airplane in the sky, and never having seen one, nor knowing how or by what it stays up there, these acclaim for that big bird moving up there, to consists of gasses lighter than air, as the means by which it remains aloft.
So then we will say; "How childish." And yes childish it is to acclaim the most powerful magnet in our solar system to be made up of virtually no more than gasses by which no magnetic force of that kind was ever found.
Then again to say that: "Gravitational force presents but a fractional amount of pull, and justify our feet upon the ground by the massiveness of the masses."
This shows that these men do in fact know about Newton's law in the calculation of gravity, by which it is not only obvious but an unassailable fact that the astronauts in the space shuttle each have more than two and half tons of gravitational pull on them, so as to offset their centrifugal inertia by which they are at last able to stay up there in orbit.
If now these were ignorant of these last facts, we might excuse their illogic, but since they are not, we have no choice but to acclaim them babes as yet unborn from their mother.
Is not mathematics taught to all students? How then are grown men incapable of utilizing Newton's law? In this case I have no choice but to conclude that: "Men enter their educational centers to become more ignorant rather than wise."
This must be a fact seeing how before they entered these schools, they were not as ignorant as when they exited the same.
Here is another foolish statement of man's scientist, that: "Over 99.9% of an atom's mass is concentrated in the nucleus." How do you think they figured that? Reading any atom for its mass is to read its inertia, its resistance to change, or its power in movement relative to other such powers of movement.
The atom in its resistance is not only by the electrons in their movement posing inertia, but along with its core, wherefore the reading is of the whole. What do we suppose our own weight is upon a scale? It is not a measure of our mass, how much we weight, but by what force we are pulled to mother earth in its main force of magnetic.
Mass as such, is by a measure of internal movement, for in measuring mass one measures movement, the quantity of internal stresses if one will. Or if as a measure of quantity, it goes by a tape measure in the cube of it.
It does not even read our pull in the centrifugal with our rotation upon the earth, since that is by a separate and distinct vector. If thus we discount that force, we have no weight at all, we are nothing more than wind a bunch of parts moving about.
Man makes many devices, and does a lot of experimenting, if now only he would be able to interpret his findings, it would account for something. Sadly however this is for our better in but part of our doings.
Ionization for example, a term that man's scientists are so much in love with, borders on stupidity itself. When an electron is ionized it has received more energy so they conclude.
We however utilizing plain common sense know that the electron is always moving, and when driven to a higher velocity, it would be preferable to say that it has accelerated, or that its velocity or movement has increased, rather than saying it is ionized.
Here is something we did not know, that if you are going down the freeway at 50 mph, you are in a rest state, but when by a slight push upon the pedal your speed increases to 70 mph, you are then, along with your car, ionized, you are then an altogether different person, with sparks flying off as wavelengths.
Perhaps we ought to take some salt along, and sprinkling it upon ourselves at 50 mph, we might even be ionized at 50 mph.
Silly speech indeed, but so indeed is that term of ionized, to conceal what factually has taken place, a mere increase in velocity. And more I need not say.
ELECTRICITY
Now
I wish to quote you what is said regarding electricity, in; "Particles of
electricity?
"Since the vacuum offered no medium for an electric fluid to travel, this discovery could only be explained via a particle carrying a negative charge and moving through the vacuum."
Now let us put on some logical thinking. Since when was your vacuum in that tube a space devoid of substance? Electricity does not travel in a void, its greater cousin the linear magnetic motion does, while electricity requires a guide to form its angular formation upon, like that filament or the inert gas you place in light-bulbs.
I of course in these words am pulling a snow-job on man's scientists, concealing the real truth from them.
But I will say that it is not only a wire upon which electricity may be formed, lightning storms show it to reside upon the air as well. Wherefore this may serve as a signpost to show how electricity can reside in a vacuum, but I will leave that for the experts to guess upon.
But like always it must empower itself upon that generator in the middle of the wire, or the two filaments in a neon or fluorescent lamp, or even by rolling its own base of operation verses that of anything to the opposite as it is with thunderstorms.
Or you scuffing your feet on a carpet to induce a voltage, which then - to raise your adrenaline - discharges upon the doorknob.
Just because you draw most of the air out of a enclosure, and call it a vacuum, because your gauges say so, does not necessarily make it a void as you determine it to be.
And coming to a fluid as if it could be anything in the way of electricity, how, may we ask, can a fluid in any way at all bite like electricity does? Is that any logic?
Then came something even more illogic, namely electrons. No doubt a material part can pass through what is called a vacuum, or empty space, but why does it have to be negative?
No doubt, the men that dreamed this up will assuredly have an answer, something even more illogic than the first. These so I say, ought first to explain what negative is, what the very term endows, which to this day has not been done by any person outside of myself.
I might therefore reiterate myself, to explain it once again. Essentially, the term "negative" stands for, a no, or, not factual, or, like none existent - as indeed a negative charged particle is, it simple is negative, meaning it does not exist. Nor do electrons exist, that is nothing more than a childish fantasy, and most stupid at that.
And so man's electricity just went out the door, which is not to debate the very meaning of the word "charged."
In science however we utilize that term "negative" to denote the ingoing motion (charge) at the south end of anything that is magnetic, or for its electric cousin.
Negative in that term thus shows a direction of movement. But like any direction for any going into - there is a coming from, wherefore it is never at all just negative, never at all going somewhere with - not having a coming from.
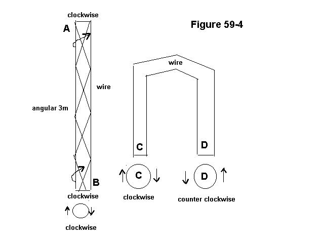
click picture for larger view
By illustration figure 59-4, the angular movement of the magnetic coordinate along the entire length of the wire is in one single direction, it is clockwise at A, and at B. What then may be positive or negative when both ends of the circuit are precisely identical?
Yet then when we lay that wire out in a "U" shape to view both ends, we find it in the one at C to still be in the clockwise, but in looking at end D, the movement is in counter clockwise rotation.
Here therefore are our positives and our negatives as nothing more than - "a point of view."
This in my book makes perfect sense, but then why am I scolding man, when I know very well that it was not of the Almighty Lord to grant the same wisdom to them which He taught me?
Am I therefore being unfair seeing how the Lord taught me in the sciences, but with-held the same from most others? Did not the Lord Himself say - how He was to turn the wisdom of the wise into folly? To dishonor all the honored of the earth!
Why then was it of the Lord - who made them as well as me - to with-hold such good knowledge, and cause them to believe the lie and their own folly? It was, and is because they saw it fit to deny Him, and as if His beautiful creation just fell together by accident.
Therefore these are so ignorant and write such foolish things, it being of the Lord that having filled up their measure, giving them ample time to correct their ways, to cast them down headlong upon their own folly.
And why should I not show their folly for all to see, and curse them for their arrogance? For there will be those many to whom my words are not an affliction, mostly the younger ones, new wine being placed in new wineskins.
And these will depart from the elite who thought themselves so great and so wise in the conceit of their minds. And that indeed will be a curse upon them when their glory among men comes to shame and regret.
Their foolishness then carried them so far to actually state that such particles on the move (electrons) would only cling up to a positive side, while we know from any cathode tube, and television, and every other experiment - that these rascals will go into any direction, since these particles must be as much positive as negative.
Positive in this: that they are going to somewhere, and negative in this - that they are coming from somewhere., the terms being a point of view rather than a reality.
If then for their relative orientation (since they possess angular momentum) they move towards any pole of a circuit, or away from it, or pass oblivious to either pole, does not make them singular in this - to be no more than one sided coins.
Since that which the elite (if so I may refer to the ancient and their glory these assume above other men) call a charge, is something they themselves do not comprehend.
But then all this is nonsense since electrons are never found outside of any atom.
Taking a closer look at the term "charge", - as in having a charge - it reveals as - in having something. But when so, we ought to define what that something may be, otherwise the term is useless.
When a pretty lady smiles at me, there is something that falls on me, an admiration for her, to hardly keep myself from kissing her, which as such might be called a charge, but I at least defined it as admiration, or desire.
It is of no use to ask the elite or any of man's scientist to define the term charge as they apply it to atomic particles, for to say that the one attracts, or, repels from the other, is not an answer, nor even a definition, unless one comes to define the how and why.
Two men, or two women's do not cling to each other, since in relevance to each other they are separate entities, while the woman unto a man is a very part of him, his rib if you will.
Do not for an instant believe that the atom is held together by so called oppositely charged particles, the theory (of old) that there were eyes and hooks on an atom to lock them together might even be more realistic than what our scientist have of it in this century.
Therefore, before we place any faith into them and their illogic, let them produce that one-sided coin they are always talking about, or any person that has a front and no back, or an arrow that comes from nowhere yet goes somewhere.
My knowledge may be small, and my logic none existent to find the truth about that which in nature. But I for me do not care what any man may think or say about me, since I know what I know, and from where the wisdom is that was graciously given me.
Since then this wisdom came from Him who by His in-searchable wisdom made all this nature, how shall He not know how He made it, or teach them that love and honor Him?
Look at all the many different living creatures in the sea and upon land, how each one was given its means to find its sustenance, and to defend itself against aggression, while the Lord clearly said, how He made the creatures in the waters "to be devoured at will."
While then He left them to be devoured by anyone, yet He furnished them with those many different means by which to defend themselves, yet not so that they could not be taken, but be food one for the other.
And how will you concede that these many suffer under the yoke by which they were made? Or that for their extinction they are gone? Nothing is ever gone, nor is anyone, or anything to be compared to the Almighty Lord who made anything and everything by the power of His word alone. And while this to the unwise may seem impossible, to me and all that are wise it is perfectly so.
There is no way to make for any comparison into the nature and being of the Almighty Father. We upon the earth are less than a speck of dust upon a grain of sand in but a single galaxy, and yet He cares for the least of us, and of every single creature man or otherwise at all times simultaneously, with nothing at all to escape Him.
This is not something we can comprehend, yet relish in this that you are to remain into forever, wherefore it warrants you to take due heed to my words, lest you are to suffer in torments for your arrogance. You may not believe me, but that will come to your own demise.
Consider the marvel in the nature of light, and how our eyes were made to behold God's creation by a spiritual interpretation of mere movements in lengths thereof, and that for their specifics we interpret them to colors.
How then my fellow human beings will you acclaim the flesh, or mere mechanical movements as the life of any man? When you die, that is to say, when God takes your spirit from you, for your body to return to dust, then you will become aware of how you lived.
And you will wish to come back to change it all, for then you know better, realizing that you are not really dead, but incarcerated by mean looking angels to await the great judgment of the Creator upon all the race of man.
And yes why should I speak of these things when the format upon my plate is the science of nature, to educate us in how it was made?
Ask then yourselves if one should not name and introduce the person that made that nature, and by whose teaching I was enabled to speak concerning it. For even you do so, like in naming Newton, for its laws of motion.
The marvels given me are pure gems for the eyes of men, and while I presented them in a most logical manner, stepping down to man's level, placing them on the web for all to see, of the many that beheld these gems not one of them had the guts, or know-how, to even reply to me.
What then am I to make of man? My conclusion is that the Almighty Creator of them closed their hearts and eyes making it impossible for them to answer me, or to reply in any way, which is so for their wicked heart towards Him.
![]()