
LIGHT'S * ATOMS
CHAPTER 69
(May 2013)
INDEX
TO OTHER PAGES
PHENOMENAL
Light for it forthcoming is very much phenomenal, the quantity of atoms in every inch of substance, together with the many waves that pass through it simultaneously with a perfection that cannot be perceived.
And to illustrate how minute the wave-lengths of light are unto us; by Figure 69-1 if we are to scale the size of a blue wave, by a diameter of 1 cm, that can easily fit upon a sheet of paper, the length of it would have to be 20 meters, the length of a car front to end.
And that is but for the shortest one, since the red at 7000 angstroms would have to be 35 meters long. If thus we drew a line 10 meters long diagonally within the spacing of but 1 cm, it to us would appear as were it a straight line with no angular moment in it.
And what is most phenomenal about this is with a line that angles so little over such a long span that it will redirect itself even over the spacing over a few number of atoms. (This is evident on a hot day from that apparent water on the road.)
Except that by looking at point A, it started at the bottom, and coming to the top at point C. And yes why must it be from A to C, rather than A to B? Because the angular moment in diameter of all wave-lengths always spans over one half of its full length?
This is because, a wave-length is not really a length. In all reality there is no such thing as light being in lengths, it only computes to lengths. It is the angular moment in which the waveform of light proceeds that dictates, or computes to a length of it.
The form of what is called light, traveling onwards is by way of a rotation naturally presented upon it by the angular moment of it. For just as one would follow the line of a coiled spring, even so light travels.
If then we are dazed at how long those wave-lengths are verses their diameter, consider that within the eyeball of a human person there is room for more than 57,000 full rotations of these lengths stacked one on top of the other, so minute is even their length as well.
When the atoms of a heated tungsten element impose a right or left angular moment within the circumference of their intrinsic movement, that little pulse in the angular is then instantly taken away passing around all the atoms that may be in their path in a straight line.
A straight line then is simply this that all the atoms which it encounters are at equal distances of one another. If for any reason the light-wave encounters a greater spacing of the atoms it simply expands just as one would stretch a coiled spring.
If however the light comes upon that greater spacing from an angle out of the normal, it will then deflect accordingly. One example thereof is found on a hot day with the haze upon road, that appears as water upon it.
As therefore the angular moment must encircle all the atoms in its path by an angular deviation that for any full circle (circumference) comes to a distance of 4000 to 1, that is to say, 1 angstrom in diameter, 2000 angstroms long.
If thus we consider the whole length as a tube, and the angular pulse began at the top of that tube, at the midway point that pulse would pass out of sight going under the tube, and at full length again appearing just were it started.
All angular moments therefore, of any and all waves are by half lengths, completing one half of their circumference when to us it shows to have crossed its full amplitude, or diameter. (Its half circumference as it really is.)
The marvel of waves lies in the fact that they rotate - by which not only their half-lengths come to reality but equally so much their length verses diameter. It is by this also that they are so susceptible to the atoms in their path for the distances between these atoms, all of which together regulate their angular moments that in turn regulates their relative velocity.
It is their rotation that accounts for the warmth they produce, and by which solar panels come to deliver that which is known as electricity. Not that this is the sum of all that is to be known about them, but such finer knowledge is not as yet in the keeping of man, nor therefore will I speak of it.
The easiest way to visualize any wave, be it of light or radio or any other is to take in mind a coiled spring, one that is stretched very far to hardly resemble it a being coiled.
And that mind you is so phenomenal about them; that infinitely minute difference that there exist between these angular moments, and yet we faithfully recognize them as being either red or blue, and any other color in between.
And still more marvelous when we consider ourselves in our spirits to distinguish so easily between such utterly minute differences. And our Creator to have made all this in such absolute perfection.
All this for their measure is based upon man's interpretation of frequencies to the length thereof. By that I mean; how did we come to a length of a wave like that of 4000 angstroms if not by the calculus of frequencies in velocity? Did man at any time ever measure the length of a single occurrence to know that the blue of 4000 is in fact 4000?
For if so in whatever means; visible light can likewise be known by angular moment, like whatever that degree amounts to in passing the diameter of a tube 2000 to 1, as the angular moment of the 4000 angstrom wavelet.
And
now by another illustration Figure 69-2, let
us ask; "How it is that we see, and by what?" In the
illustration at AA we have the partials of a blue and red wave in their angular
moments. The rectangular then with the circles in it is the area at the back of
our eyes, or any plane if you so will.
When the blue wave comes to its end, or a stop, it in some form of reality draws a circle. This is so since like unto a coiled spring that as it moves forward, it also rotates. In any encounter therefore we might say, it traces a circle.
Which one of these then the blue or the red will complete that circle at a greater or lesser speed or timeframe than the other? It is after all a confirmed fact the the blue wave has a proportional lower forward velocity as compared to the red having a higher relative velocity. (Relative in saying; distance in time.)
The forward momentum of both the red and blue wave have an identical velocity, something we call the "constant" of it. But the blue wave for its greater angular moment is forced to travel a greater number of turns as compared to the red for any given distance.
Yet it does not really matter since light for its beholding is not in velocity, but in their angular moment in which the color of things likewise corresponds to that factor. The reason that we can see through air but not through most everything else is for two reasons.
First of all; light's circumference is large enough to pass by most of the atoms of the lighter elements, but too small for the greater atoms by and within which then they are redirected and/or terminated.
Secondly; when the atoms are in compound form the molecular structure as such arrests the wave. And though there may be many atoms within that compound form by which the light could pass, or even all of them small enough, their structural coordinate is preventing the wave from passing.
Nature in itself shows how in water the light does not pass the Oxygen atom as it does in air, because of the additional atoms that are bonded to it. For even if it passed a billion atoms, sooner or later it will strike upon the connecting points of the atoms of Hydrogen.
How thus when the light is unable to pass does it emit or redirect only certain selective waves that we interpret into color? We could come up with various ideas, but in my view this phenomena, in principle, is not much different from the way the many colors as light passes through a prism.
In other words; it is by "dispersion" as may be demonstrated by Figure 69-3, and Figure 69-4. When the light in its full circumference comes upon a large atom by which it cannot pass it essentially strikes upon a curved surface, the atom being like a ball, a sphere.
And just as a slanted surface (prism) disperses the light according to its various angular moments, so the rounded surface disperses the each angular moment into a slightly different direction. By Figure 69-3, atom BCD, the 7000 heads for 7, with the 4000 to 4.
By figure 69-4 the 7000 is towards red, with 4000 to blue. And how selective shall this atom be to pass on (emit) and/or arrest a wave? The reality of this lies in its coordinate movement, that can be either all in itself, or by combination of such other atoms that are next to it or bonded to it.
By our illustration, just for the example, the line of 7000 came upon the path of a ring in like movement whereby it may be emitted into direction Y and so forth pass onto our eyes. Whereas the angle of the 4000 wave came upon a crossing movement and was terminated.
We must remember that light in all essence is a movement of rotation, and when that rotation is taken out of it, it is no more than a straight line, no longer any rotation. Darkness therefore may be said as a line that is straight on, or a straight forward movement, such as all general magnetic lines are.
While light is the same line but formatted to pass by an angular track encircling the atoms. For here too we must understand how when light as a straight line comes upon the angled surface of a prism, there can be no refraction, since there is no angular moment within or upon that line.
Light disperses only by virtue of its angular moment, and precisely according to that angular moment, and only because in any beam of light like from the sun it comes with many varied angular moments so the whole array of colors may be seen, If we strike a prism with only the angular's corresponding to red, only the red will be seen.
In my view therefore the principle by which all substances come to selectively redirect or emit the various so called wave-lengths has its basic innovation in dispersion, after which the atoms and/or molecules, singularly or in unison by their coordinate movements come to pass on, or arrest these waves.
Another demonstration may be given by Figure 69-5, where we at point B upon the earth, and looking towards the evening sun, we observe the longer red waves on the low end with the shorter blue waves being cast up higher. And this is also the reason that the sky is blue, while mornings and evenings we observe a red sky.
The atmosphere of the earth acts like a prism, all because it is curved, just like any ball, or as atoms are when the light comes to strike upon it; after which comes the dispersion of the individual waves in their various angular moments.
So much thus for dispersion, after which comes the selective arresting/and/or passing of any wave. And as to that part I am as yet in the dark, I may have ideas but nothing that can be taken to the bank. Although I am certain of this that the selection is by a single atom as well as by combination, and how in some it may be by structural coordinate, and by others after a coordinate of movement alone.
All I can do is present some ideas, like in Figure 69-6 where the light strikes from A, and the first atom (Xa), being small enough to pass, it could copy all of its angular formation to redirect the same again as it does in air, and in water as well, and many other liquids or gasses.
But it might also conceivably pass it as well unto the larger atom (XY), along which it cannot pass and wherein, or whereby the selective process takes place that then be emitted along another atom towards B, or back along Xa, towards A again.
Or, by Figure 69-6-b, it is obvious that the light could pass along two of the red colored ones in line with one another, which if so would give us a view into the interior of that metal. But here the structure itself may be preventing the light from passing by the several conductive movements bonding it with the other atoms.
Or it could simply be that this molecule of metal presents an overall coordinate, which is a movement all the same to arrest the light, and in itself allows for some selective returns, be it of the originals or newly created.
In any event I do not know enough about coordinates by which to lay-out just how such selections occur. We can come to enumerate some things like light, as well as feeling, both of whom as coordinates not only travel at the speed of light, but are infinite in distance.
Like as in ice a wave-length of light may enter a depth of ten million atoms before it is returned, so on plants or other substances it may pass thousands of atoms before it comes upon the one by which it is returned.
As then sound is much slower since it travels by a vibrational movement, it is diminutive. The coordinates by which we have our sense of smell is slower still, and dies out rather quickly, or as one might say, is arrested right quickly, with the taste of things a coordinate that has to be touched upon, not having the ability to travel.
All these things we know from observation, but then only after the principle of it, whereas in coordinates to selectively pass or not pass any one of them is as yet a magnitude removed.
THE ATOM.
I have spoken about the atom after the manner of a planetary system. And I have given my doubt's about the atom as a planetary system. And so what will one say; that I should make up my mind?
I then would if it were not for the sake of man to let him have a view of things. That which is certain is that it is a system of angular movement, and as such it presents rigidity.
Moreover I know that its movements is conductive to all other movements, meaning one from the other, and how it - to put it that way - is of the same nature with magnetic, or magnetism, the very forces that hold all planets to their stars.
If movement were not conductive, magnets would not be drawn to one another. But as we must realize that it is by specific coordinates of movement whereby they are drawn together. There is atomic movement in all metals but only when the curvature of a figure eight is drawn upon it can they be construed as magnetic, or conductive in movement.
Then in speaking of atomic contents as if it were to consist of particles, do not accuse me thereof, if in anything I spoke of it that way it was to humor man more than for a certainty. I do look upon the core as something of a material nature, but what that material something is or may be, I do not believe that we will ever know.
And so let dust be as dust, or "finite dust" as I came to call it, which then brings us to what man conceives as electrons, as particles encircling the core. I then do not believe them to be particles at all wherefore I came to refer to them as rings, rings of movement, and yes, rings of something in movement. (also not as man may conceive)
Nor can I go much deeper into this which in one way or another would come to refer upon what is "spectacular," something not to touch upon. But in benefit to myself for a nature in the atom by which it operates and concludes itself, seeing how I do not believe upon a planetary system such as man conceives it to be, let us refer to an illustration.
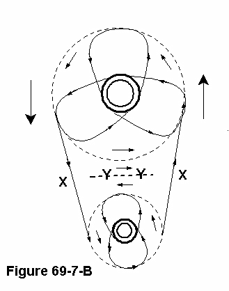
By Figure 69-7, there is a core, and what might be presumed as two rings of movement, or even as four rings of movement. As then man has his electrons not bound to a core but simply encircling it, as were it by charges opposite of one another to keep apart from one another.
Contrary to man; the rings in this illustration are very much dependent and associated with the core. And logically there are no such things as singular charges, even as Santa Claus also does not live on the north pole.
By this illustration to depict as were there two separate rings, the movement is equally so all in one. For when we start at number 1 passing to 2, and from 3 to 4, and again 5 to 6, and 7 to 8, it shows a single movement, a single coordinate that can effect its power singularly or in as much as four directives of.
Meanwhile it presents conductive movement into two main linear directions noted X and Y. And as a whole a fully complete circular movement that serves its purpose when it is found not to be bonded to any other atom for a compound element, as well to be utilized (restructured, or redirected) in and to any bonding.
In all essence this atom can shift its power in any direction, as well as rotate, that is to say; to cycle in the circumference. And it is ideally suited for RAM (relative angular movement) (heat) as well as interlocking upon a core so that when set in a grid these are at all times firmly anchored.
Yes and how firmly indeed the movements interlocking so well with one another and that upon their cores to make for a very secure bond. Evidence of this is found with metals how well these hold to one another by nothing more stronger than conductive movement.
Take a ten thousand pound load, and with a metal hook the whole is lifted up while none of the atoms of which the hook is constructed lets lose of one another. Or then again the compound of rubber to be so elastic and yet maintain the bond.
Another example of conductive movement is our moon as it is held to the earth by nothing more than magnetic strings, magnetic lines of movement. Or closer to home when one holds two magnets to pull or withdraw from one another, by nothing more than the lines of magnetic.
Or a rock within which the atoms permanently maintain their integrity, and suit themselves to units of, a grid made in sections that leave their borders open to separation.
The nature of the atom in this way was shown on a previous page, (63) and that it was to be seen three dimensional. While then the illustration here is two dimension, it should be seen in a three dimensional operative.
Another illustration Figure 69-7-B, is of a larger atom with a lighter smaller atom. Here I show the internal movement of the larger atom as 3 in 1, the single continues movement that is founded by a threefold operative.
The smaller atom then is bonded to it by the circular movement comprised in the very circumference of both atoms, which of course are fed from the interior of the both of them, and securely anchored to their cores.
At points X the conductive movements join, like as two magnets would join when their movements are in like direction of, such as Pos to Neg. Whereas at point Y, there is a withdrawal of one another, the movement being in opposite of one another.
In this way the two atoms are at a distance of one another, and yet bound to one another, which is quite real in the atomic realm, and not so easily procured in the larger realm. In the larger realm, like full fledged magnets, these face each other in the overall scope of things, while here we are within the fundamental realm.
Not that the same is not possible in the overall order of things, since our moon as a full fledged magnet holds itself very well to the earth, and yet maintains its distance. Thus there is a difference from a first order to a second order, and these again to their overall order of things.
Then there is Figure 69-7-c the typical three point bonding so common with carbon and other atomic structures, such as Ice etc.
Click on illustration for a larger view
If then we assume that there are electron rings they would have to pass straight over the core, like the broken arrow indicates for the atom of H at the left.
But it is not bonding that way is it? And how do we presume an orbital track that is curved? It does show how all three points are by a single flow of movement.
If nothing else this will give us something to think about, how the atom as a planetary system is highly questionable.
I now could go into other combinations by compound elements, and the various ways in which they join, but I deem this to be sufficient.
If now man will say; that I have made a whole new atom, one that is not like the solar system, I indeed have, but seeing how the Lord has not (as yet) revealed to me the full thereof, there may be more to it.
INFINITELY SMALL
And now let us again attempt to visualize how very minute these angular moments of light are by the lengths and diameter in which they are known.
If we take a plant leaf in the thickness of it, let it be no more than 2 mm as illustrated by U, in Figure 69-8. Within that 2 mm then there is room for at least a million atoms stacked one on top of the other.
Not that this is the reality of it since the structure of plant leafs shows a lot of open space with the atoms set by designs in grids, etc. If therefore we reduce the possibilities by which light must track itself to one eight of it, that still leaves room for 125.000 light-waves that could emerge just from the sides as the thickness of a plant leaf.
And how many light-waves could be coming from the square of just 1 mm, as depicted by R? A million times a million, is a trillion. But the leafs of plants are never that condensed, wherefore if we reduce it by 90 percent to but one/tenth.
A trillion divided by ten is still one hundred billion. And is that not mind boggling that from no more than a square millimeter that many light-waves can emerge?
This is not to convey that indeed that many waves do emerge from each square millimeter of any leaf, since many of the atoms near the surface may not be in a position to radiate light's angular impulses outwards.
If then again we reduce it to a mere ten percent that will amount to ten billion possibilities to radiate from an area no larger than a single square millimeter. If then no more than one million light-waves are striking upon that square area, there can be no more than a million returns.
But even a million to come forth from such a minute area is hard to contemplate upon, and yet it is so. How utterly minute thus the building blocks of nature are, and in what vast quantities these appear.
Just to look at a rock and contemplate upon how many atoms that rock alone is made of, and how many light-waves are radiating towards our eyes just so we can see the whole of it.
Then consider magnetism in its lines of - how infinitely narrow these are that they pass by every single atom. That if there be a million atoms in a single millimeter, there are a million magnetic lines of force. It is also for that reason that our telephones and I-pods can be made so small.
With a million atoms residing in a single millimeter, one can introduce many switches and transistors in that small spacing. It is also by that concept that the smallest of ants are made living creatures to have the full array of what makes for a living organism.
No creature of that small stature could possible be made, if atoms were as large as 1-millimeter. For if a foot alone required one hundred atoms for a diameter of it, the same would have to be 100 millimeters in diameter. And how large then would the smallest of ants be?
As then we look upon a rock to appear so peaceful as if nothing moves, there is nothing at all of that rock that is without movement. Absolutely phenomenal.
And to conclude this let us look at just one of those atoms on the surface
of a rock or a plant by illustration Figure
69-9
When the light strikes the surface by H, and enters into the atom where it completes its obituary, it in the process of doing so activates a new series of angular pulses that emerge as light-waves.
As then the striking from H was with many different angular lengths, the unique identity of that atom in its coordinates is so constructed, that it will remit only the certain angular moments relevant to its coordinates.
If then these are all of 4000/a it will appear as being blue. If however along with these, it will remit six or seven more different lengths, it may appear pink, or orange or green, or gray, radiating a mixture of them that corresponds to these colors.
But while the incoming light was of a single direction to activate the atom for its remission, the atom itself in sending out its various lengths does so by continues pulses in the circular, as I attempt to demonstrate by M.
The line Z being the straight line, while Y illustrates the angular moment that proceeds on a continual basis along a circular track. Therefore at the open surface end of the atom it radiates its particular lengths to all directions noted K, nearly a full 180 degrees.
Nor is this confined to merely that direction, but rather as I said, it radiates by a full circle. All those would-be waves thus that are into the surface have no way of escaping, being nullified by its nearby atoms, and the coordinate movement that pervades them.
If this therefore being a green leaf, we are able to see it, and as green at any place within those 180 degrees from point P over H to point Q.
I began to say phenomenal, to realize how all of nature in every part thereof starts out with its building blocks more minute than we are factually able to realize. And all this becomes much more incomprehensive to realize how all these parts are forever in motion, and are linked to one another by coordinates.
That is to say; by movement into movement that functions by coordination. An example thereof is this very page with all its letters and words, which in effect are nothing more than dots formed into lines, and yet by them a whole story is told, and the nature of them is revealed.
THE SMELL OF THINGS
It has been of me to show the production of light-waves to come forth primarily in and on the atomic level. This then is not to convey that the same cannot be done on a molecular level as well.
As then there is a difference between production and re-production, I consider it more than likely that light for its wave-lengths that are re-produced are on the order of both orders, atomic as well as molecular.
Consider a dried out leaf that shows itself brown or yellow in color, while if nothing more than some water molecules are added they present themselves green in color. A dead leaf then may not be in any condition to become green again.
But the point here is how with the addition of some hydrogen and oxygen the molecular level changes to where either more or less light-waves of different lengths are allowed to pass - the sum of which we in turn interpret as green.
As then the knowledge and pattern of most of nature's coordinates are beyond our means, it is quite obvious to me that even as the sense of taste is by coordinates, so the sense of smell is likewise passed through the air by coordinates, that we in turn within our spiritual nature decode for the likes or dislike of it.
And what shall that coordinate be? I of course do not know, but if I am allowed to speculate these could very well be in the nature of what the animated graphic here below displays.
Light in its coordinate is like unto the illustration here, the angular format twisting itself forward like a nut of a bolt. Only for light that circular is stretched so far as to resemble a straight line more than a twisted drill-bit.
We must then also consider how light for its immense rotational speed becomes again like unto a drill-bit as we normally visualize them.
As now light operates on the atomic level, the illustration here is to suggest a much larger circumference, along with a much slower forward movement, one that for its very nature and being is diminutive as well.
Like unto sound, the speed by which the coordinates of smell travel is likewise a snails pace comparable to light, and it fades out just as sound fades out.
Let me thus caution the reader that the above illustration for a coordinate in the nature of smell is something not necessarily real, but something to speculate upon.
LACKING CORRELATION
My wife said to me, that it is not fair of me to ask any question on the internet for which I know the answer. As then I asked the questions - it was indeed not because I was looking for an answer, but rather to test the ingenuity of mankind.
One of the questions that I asked was: "What is the acceleration of gravity 2259 miles from earth, utilizing the data from the Hubble telescope?" And in another place I furnished them with the data."
The correct answer to this question is to state; "Zero."
In all reality now I did not expect any person to come up with the right answer, nor how he or she came to it. This is indeed sad how correlation and common sense is so much lacking among the sons of man. And to give an example one person replied with the following statement.
"It is not easy to tell the acceleration of gravity 2259 miles from earth utilizing data from Hubble telescope. The Hubble telescope is only 353 miles above earth."
I then in reply said: "It does not matter how far out Hubble is, utilize its data to calculate any altitude."
For now look at this; I did not ask what the g was on the Hubble telescope, but simple to calculate the g at 2259 miles out by UTILIZING the data from the Hubble telescope.
For does it not make plain sense that if you know what the g force is on the telescope at 353 miles from earth, it becomes a very simple matter to calculate what the g force would be at 2259 miles out, or at any distance from earth.
I then was disappointed in the answer, but I had expected the same. And this is what makes me so sad; how plain common sense is so much lacking among the sons of man. And how therefore am I to teach them the beauty of God's creation, so that it may be understood?
I of course also know the answer to that question, namely; how when God opens their eyes and gives them understanding, then and then alone will they understand and be educated.
For here again; a limitless and free source of energy is quite simple, and why then has man not as yet found that answer?
I was unable to find it while I indeed tried very hard, and not until God gave it me into my heart did I know. And so it is with all things; by grace, by the gift unto him. But when one is not readily acceptable to receive it as such, why should it be given him?
But this I must say; That it was very good of man to ridicule me and hold me for a fool, so that the secret would never come to them, since in this world, that is to say; in this generation, it is not the right time for such a secret to be revealed.
There is enough chaos in the world, and he, mankind that is, is rather to be exterminated from the earth rather than that such blessings be bestowed upon him in this world.