
MAGNITUDES
CHAPTER
73 (Sept. 2014)
INDEX
TO OTHER PAGES
As there are orders in nature so there are magnitudes. The orders of nature were illustrated on page 7, by illustrations Figure 7-1, and Figure 7-2.
These being "matter" in "motion" by "coordination", with the atom in the lower corner of the ever expanded triangle. Then I illustrated all of nature by a dual triangle, which as such doubles for the figure eight of force and movement.
Click on illustration for a larger view.
And here I did not place the atom at the center of it, but that agent which is called "Inertia". Since then inertia is first and foremost found within and upon the atom, it is again the atom residing at the center.
And from here within that dual triangle, as well as within the confines of the figure of eight, also known as the "magnetic coordinate," all things have their forthcoming.
As then we go into "Magnitudes," there are likewise three of them, the first of which is with the atom, and that exclusively. In the second magnitude of nature is where the multiples are listed namely molecules and compound elements, that by still greater formations list themselves into the third and last magnitude of nature.
But it are not only material parts which we account in such manner, but their movements must likewise be accounted for, since the second order is motion, nor therefore can it be omitted. And the same is true for all that resides in a third magnitude of things.
I then took up this page to gain an understanding by comparisons of and in between the magnitudes. To behold things from an overall point of view, after which we may discover how very little we really do know about the atom and its workings.
We will start out with the atom illustrated by Figure 73-1. Here is a core considerable larger than what is propounded to us by the ancient, that is rotating at a considerable RPM, imbedded over and upon which is a movement in the design resembling the figure of eight.
As then that core spins - so the magnetic coordinate spins along with it. Thus there is a distinct difference in the atom as a magnetic entity verses the regular magnet. In the regular magnet its coordinate of eight is stationary, which is not so with the atom.
Moreover, seeing how it spins, there has to be an axis within that core. And shall that axis be from north to south, or from east to west? The question however - as such - relates itself more to the third magnitude of nature than to the first.
For it is in the greater formations like our earth, where we have a north, south, east, and west. When however we descent into the first magnitude - things are not quite the same even though the fundamentals remain alike.
For yes the coordinates upon the atom do proceed by a quarter, and half turn formations, but it is not that there are many atoms within that atom, like as the earth has in its sphere.
The atom is singular, a one of a kind, and since it is not encumbered with many others to reside within that space and its particular movement taking turns in half, or quarter wave formations, it is free in directions of - to act as it will with, and upon, that so called substance of which it consist.
The conductive movement within the atom then is magnetic, not electric. And while for the moment it may seem the same as what we find with an electrical current, the figures of eight turning in a circle, there is a difference.
Which for comparison sake is illustrated by Figure 73-1, Figure 73-2, and Figure 73-3. It being known in a single 8, while electricity consist of multiple eights. And for that reason there is no electric - as such - with any one atom.
Figure 73-3 illustrates a wire upon which the format of an electrical current is drawn, the whole of it turning angularly (Rotating), with below it the stationary single format of our standard magnets.
If we argue saying; "Yes but that figure of eight within the atom is of the same format as found in the electrical, why then can it not be called electrical?" Our answer must be as I have already stated.
Then we may conclude upon it; how in fact as the atom spins - so the format of eight is spinning, and may it not therefore be termed electrical, or, electrical as well as magnetic, to say electro-magnetic?
Perhaps it can, but I think to have explained the notion of that term well enough that we ought to stay clear of electro-magnetic, other than enumerating two birds, to have electro as well as magnetism, but not these two as any single bird.
If
then one holds a magnet next to a conductor upon which there is
an electrical current, we will find the wire to vibrate back and
forth. And
so the electrical is after all drawn to the magnet, but let us not
be too hasty, and recall how we said; "to a magnet."
For yes, the wire is moved because the movement upon the wire is of the same magnetic nature as the magnet. If then we disconnect the circuit, but still have our electricity it will no longer move towards nor away from the magnet.
Conclusively, there is no real linear potential in the rotating field, no real turning of the coordinate until the circuit is complete, or as it may be said; utilized?
Look at the illustration Figure 73-3, how in each of the twists, (the figures of eight) there is an arrow pointing into one direction to denote a north and a south of magnetic.
It is by these that the wire moves, since each single twist is like a magnet, a magnet that rotates around. And as you can see, they are all into the same direction, the north's and the south's of them.
If per example number 1, and number 3 had their arrow upwards with number 2 downwards, the wire would not move, since then each other loop, or figure of eight would cancel out the other.
But then again, that simply could not exists, for then the figures of eight would be out of phase, nor therefore be our electrical current. If then we desire to construe the atom as electrical, a single figure of eight rotating, you may have it your way, provided you do away with the term of magnetic all together.
And now note, how this phenomena serves our atoms so well in producing RAM, and other regularities or irregularities associated with the atom. Magnets in rotation to rattle the atoms of a tungsten wire. (Light-bulb)
Yet it does us well to remember how if the atoms were moved by electricity, now knowing that there is in fact a push and pull from electricity, the magnetic push and pull, there would be no bonding, for each atom would constantly push and pull itself to and from the other.
But I should revise this to word it like this; "In now knowing that there is in fact a push and pull from electricity, - it is - the magnetic push, pull, rather than the electric." The electric by its rotation will join by like directions and tear each other apart by opposite turns of rotation, or fail to proceed like in diodes.
Wherefore if any electrical atom is to to be moved, it must face a magnetic atom, since quite clearly electrical to electrical do not push and pull, only magnets do, meaning only linear's do. Nor therefore shall we expect every other atom to be magnetic with the others electric.
For even then there would be no bonding, no adhering to one another, no permanent locking. All atoms would at all times be separate from one another, with no grid, no compound element, nor therefore any earth, nor human bodies, nor atomic bombs
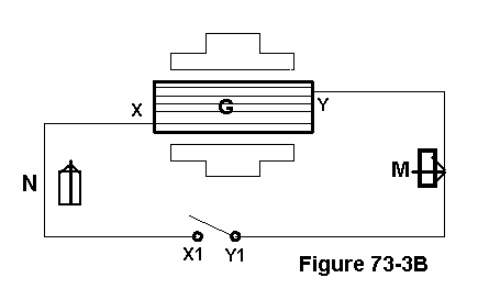
And now for curiosity sake with our reference to Figure 73-3B, at G we have a generator producing electricity, or, a battery with DC voltage, that then proceeds through the wires, and by way of a few coils (not shown) to a on-off switch.
In the on position the wire at M, will begin to vibrate back and forth since the magnet there has its polar area, north or south facing the wire. As thus the magnetic current (electricity) turns - it alternately brings its north and south to face the north of the magnet, resulting into the push pull maneuvering.
This is further demonstrated by Figure 73-3BC, at A. But at N, where the magnet has its polar areas not directly facing the wire, there is no push pull, but simply a pulling movement. This is further demonstrated by Figure 73-3BC at B,
At B, as at N, it is the equatorial region facing the wire, (By Figure 73-R that would be at A.) wherefore the rotating poles of north and south are looking at the loops of the magnet, at a movement that proceeds parallel with the wire, alternately to one and the other direction.
As then all fundamental movement is directionally conductive the wire at B, and N, will cling to that magnet there without vibration. This all in itself demonstrates what any and all electrical currents consist of. And likewise, this all in itself defeats man's theory about their so called flow of electrons.
When however we turn the switch in the off position, the movement at both M, and N stops. And why might that be, since as we conjecture the generator did not stop producing the electricity, nor is our battery dead, yet the magnets tells us, that it is not there?
Our reasoning is that like in Figure 73-3, the current being nothing other than a series of magnetic eights, these should still be on the wire since the generator never stopped generating, by consequence of which the wire must still be vibrating.
How therefore is it of that magnet at M, and N to tell us that our reasoning is in error? We know that magnets do not lie, these are incapable of acting after a human nature. We therefore must accept the fact that with the switch in the off position there is no electricity on the wire.
Yet so I conjecture it must still be between points X and Y within the generator, and/or battery. And what then - if not at the speed of light that coordinate of electricity extends itself from point X to X1, and from point Y to Y1. All because we connected X and Y together at points X1 and Y1.
And so it is not - as such - a flow of movement when we complete a circuit, but we are bringing it upon the wire. And what we are bringing is - a none moving rotating coordinate of magnetic force. By "none moving," we of course mean to say; - not moving in the linear.
It did move in the linear, but only for that minute fraction of a second when it extended itself (or was extended) from X and Y to X1, and Y1.
And here comes an interesting prospect, in how by merely connecting points X1 and Y1 together, this was related to points X and Y, to come home to us? Anyone for an answer?
And for a reading of that so called flow of the current, we utilize an Amp meter, which is a device that clamps around the wire that then reads the strength of that rotating magnetic field in and upon the wire.
It does so by conducting the relative strength of that rotating field, from where it goes to a gauge designed to move a needle up or down by field-strength. The question then becomes what in fact that Am-probe (as the device is called) is reading?
For yes it is true that as an magnetic field moves through a coil a reading may be had. But what are we reading? Shall it be a flow of movement in how fast it moves passed the clamp of an Am probe? That cannot be. I cannot be wrong in what I have known from day one, that the current as such does not really move.
If on the other hand we consider the clamp of the Am probe to be 5 millimeters is width, and the number of rotational lines tally to 1 million within those 5 mm, that would be one reading. If then by an increase in power the tally comes to 10 million lines within those 5 mm, the reading in strength would be times ten.
For this is why I drew Figure 73-3CC. Normally the pattern of eights upon the wire should be, or may be, as illustrated by Y. As then the power is increased, how do these coordinates quell more and more upon the wire?
May it be that the horizontal length of each figure of these eight's come to compress as illustrated by X? This is what is meant by; "to quell," to compress. For in so doing more and more rotating magnetic lines would be found at any one area. This is something we must as yet verify.
What now would we see on the outside of the wire with the lines visible to
us? Shall it be like Figure 72-4
with all the circles around it, and encircling the two leads in
opposite direction of rotation?
Indeed it would depending on what part of the wire we are looking. For so indeed are the cords on our appliances, and any electrical cord. Nor do these - being right next to each other, - pull towards nor away from each other.
This is also because the direction of rotation upon the entire wire is but in one direction, yet it appears to be in opposite because the wire is laid out in a U shape.
And so what would we see if we could concentrate ourselves upon just a minor section of that copper conductor, like at point R1, in illustration Figure 73-3-C? It would be like R in the illustration, as nothing more than a little horizontal line, in line with the conductor itself.
That therefore is not anything like the circles in figure 72-4, but like a section of the loops of magnetic force as illustrated by 73-R. These do of course - while being horizontal - move into a circle.
If then we placed ourselves at section P1 of the conductor, here is where the polar regions are in the center of each of those figures of eight, in which case we would see what is illustrated at the left by P.
And there is where a normal magnet would react upon to push the wire back and forth at the speed at which the electrical current is turning. If the normal magnet has its northern pole facing the wire, it would repel the wire when the arrows are facing it, since that is also the north of it.
But by a half rotation, the southern pole will be facing the magnet, at which time it will be drawn towards it. Simple, is it not?
A single rotating figure of eight may have its particulars, but not by the term of electrical, since - in the understanding that we have of electrical - they need to be end on end. Electricity needs to extend itself which can only be by more and more twists.
Moreover, electricity does not seem to exist unless and until there is a completed circuit, a completed circle of movement. Even in a battery that we know to be charged, no electrical current can be found until a full circuit is made, which is not so with magnetic that always shows its figure of eight.
A most curious phenomena this electricity is, how it is never there unless and until a complete loop is made of it. In other words, there must be a circle of these circles in order for the circle to operate.
If then you my reader will pause here, and really think about it you ought to come to the realization how all the evidence in nature defeats man in his so called single charges, as well as his construction of the atom.
A single spinning format of eight like as within the atom, do attract and repel into the linear, to others of its kind, even as it does in the electrical. But here is the point, that whenever it is spoken of a single figure of eight, the term for it is "Magnetic."
If then we wish to have our cake and eat it too, to say that the atom is electrical as well as magnetic. Well on, enjoy your meal, as for me I have yet to find any bird that can fly two directions simultaneously.
And so am I now factually proclaiming the rotating electrical also to have a push and pull? Yes I am, since all "linear" movement is directionally conductive. For this must be a standard; that wherever there is movement to push or pull into the linear, it is termed magnetic, with only a series of eights in rotation as electrical.
As then it may appear that I want to keep electricity out of the atom, shall it be because I want to be different from man? No, my dear friend, that is not the reason.
And if man had his electricity with both polarities, I would have pointed him to the linear flow that exists in his electrical. But man had no idea about what electric was, nor what magnetic was.
If an atom with its rotating figure of eight were faced to a stationary magnetic field, those atoms would continually fluctuate, or oscillate, or vibrate as some might say, and there would be no bonding. Yet for one magnetic atom next to another magnetic atom, they will act just like all magnets will.
And what would it be when both atoms with their figures of eight in rotation faced each other? It of course would all depend in what way they were facing, and in what direction their spinning movement would be. If their axis of rotation is like unto the earth, and a north were facing the south of the other, they would bond very well.
If however their axis of rotation were at the equatorial region with their polarities facing each other, there would be no bonding, since in that case they are just like the electrical, and as such might be called electrically induced atoms. Here man may have its cake and eat it,
But it stands to reason that if all atoms were electrically induced, (a better term than charged) there would be no molecules, nor any grid of atoms, for how then would they all bond to one another? They could indeed bond like the electrical does, but even the molecule of water proves that to be a no, no.
If then we are so hip on changing the spin of the atoms in any way that suits our fancy, you better think twice and then some. For you are not likely to change the spin of the atom without making some major changes in the molecular grid.
The whole idea that man has in those regards is in error, like his MRI based on changing the spin of the atoms is likewise very much in error. His tools are in working condition yes, but his knowledge of fundamentals is not.
And
what more shall I acquaint us with in the nature of the atom, but that it is an aggregate
of substance upon which the second most fundamental movement of nature takes
hold, and whereby in size and volume it comes to a large variety of coordinates,
making for all elements.
These coordinates then in themselves are of an immaterial nature, but completely susceptible to and upon the substance of the atom, and it embraces all substance. This may be compared to waves as also being of an immaterial nature, yet completely susceptible to all atoms, but of a different sort.
If then we cannot understand the term immaterial, something of no substance yet being real, look at the wind how it passes, yet you cannot see it, nor know from where, or where to. Or your own self, the spirit that you are - as also an immaterial entity, that to you must be very real, if not, you would not be alive.
You, for what you truly are - is not a physical entity, it only lives within and upon a body, your body. Your thoughts are not physical, and even the vibrations that you as an immaterial being create upon your vocal cords, are of an immaterial nature, since these are nothing more than movement. Your vocal cords then are material.
Spirits as they are called, we are spirits, all of us, and so are the demons, the sons of angels with women, who grew to be giants. They are still here not eating nor drinking nor finding any obstacles, these can move through anything, yet we can't because we have bodies, living within them.
When we are divested from our bodies, we do not remain upon this earth, only our bodies remain. And why then did the spirits of those giants, called demons remain here upon earth? For a first because their fathers were not human, but born upon the earth, they had to be incarcerated in the earth. And secondly to test man's resolve.
If on the other hand it is difficult to understand how all of nature lies duly in the embrace of that immaterial conductive movement, take a look at the circles of the sun-flares, how well even fire lies in its embrace.
Thus in speaking of things material, or immaterial, light for the example, may be called to be a coordinate, but better referred to as a wave, or a ray, since it merely passes upon the atoms, (further illustrated by Figure 73-5)
Whereas the coordinate of eight within the atom does not pass out as away from the atom. The same is true for single magnets, the coordinate of which never (on its own) leaves it.
As a lump of substance - the atoms are formed into rings, and/or balls, oblong, or round, by of course nothing other than its presiding coordinate induced upon it by yet another agent. Any part of that substance then may be driven from it, be it by what is called "decay," or forced upon it in some other way.
When so - we have what may effectively be called, a part of an atom, in which case the question becomes - if that part is devoid of any format of internal movement, or if it still has some coordinate upon it. In the latter it would be more like an atom of some lighter weight, and readily stopped in its track.
If on the other hand it is devoid of any coordinate movement residing upon it, it is then like the rocks in space and able to penetrate, or pass through some rather dense molecular structure without affecting that structure, or equally as well to rearrange, and/or destroy it.
If then we start speaking about the very short waves, like x-ray and the likes, here we are not defining a material part on the move, but an immaterial coordinate - with, as compared to light, is a very short angular moment. MRI is like that, the very term revealing itself, namely "Magnetic" resonance. (rather than spin) (If one gets my drift)
So how did man (with his MRI machinery) come up with changing the spinning movement of atoms, when he is playing with nothing more than a resonance, a magnetic resonance?
We, even now with our giant step forward, are as yet a long ways from defining the atom in its many
forms. For if only we
could decipher their fundamental coordinates in the many variations thereof, in
the thousands no doubt, we
would be a lot wiser, and might come to the realization of what is yet more
fundamental.
But since I have not been awarded with much of these it shall not be wise of me to cross that threshold. Wherefore I best leave it as illustrated, and as I have spoken of the atom at numerous other places.
Let
us then proceed to the illustrations below and to Figure 73-2
in the latter of which where
there is a piece of steel or iron that once magnetized is able to retain
that figure eight of magnetic upon its entire body. And how is that
possible that in one configuration of its atomic grid, it does hold, but not
in others?
The configuration of iron, in the illustrations below is not all that much different from copper, or wood, or many other structures. Is it therefore in their atomic configuration, or in the manner in which the figure of eight seats itself?
Iron Copper Wood
The answer is - in both, and then some. But to explain just how that is, or takes place in the various compounds is a tall order that I am not able to fulfill, other than by a first hand principle thereof. Yet it serves us here to remember how in wood there is a lack of continuity, which is not so in the copper.
When it comes to metals, all such as can be magnetized, or that are moved by magnetic motion, there is a typical formation, (or coordinate really), that plays a principle role in it, which I illustrated and spoke about in pages 11, and 61.
Naming it the "Component" factor in the eight of force as it inhibits these certain (metal) structures by and in which the eight of magnetic comes fastened unto them. Meaning of course that it is then able to move these structures, or be moved by them. (simply said; magnets)
I showed two variations of that component, Figure 11-3, and Figure 61-2. If now I could illustrate the precise manner of that component in a metal nail that will draw to a magnet, but not retain it once removed from it, verses those that do retain the figure of eight, that would be great, but I am not so able.
These illustrations are then how I envision the principle fashion of it, wherefore the design as such it is not a confirmed fact. But if others are allowed to have theories why not a few for me as well?
When I say; "Curvature," that it is in curvature whereby things may be locked onto, I must be very close to the truth, if not upon it. But then to illustrate that curvature is something of a difference.
As then we look upon the configuration of that component, and realizing that in such manner a piece of metal may permanently hold the figure eight of magnetic upon itself, what shall be so different in them whereby it can-not retain it?
For these are the facts, and I venture to say that in copper and silver, as well as in gold and aluminum these types of components may also be found, howbeit somewhat different, and yet so much different that the ideal of curvature is not present, as it is with the metal of a nail.
For the nail will cling to a magnet, but copper will not, nor will gold, nor even stainless steel. And so what is so pure in stainless steel that no magnetic curvature can be dawn upon it?
We can question ourselves till we are dull in thinking, but without some constructive answers, we are not getting very far, other than; yes, all these things do exist, but the how to is as yet a mystery, perhaps, as I said - only in principle.
If then we come to the nature of wood, or plastics and the like, I do not believe that these contain such components. Their structures being far too lose and too open for any such "component coordinate" to take place.
For here again not to be misunderstood, the component is not as such in the atoms, as it is in the coordinate of it, the local movement by coordinate, a format of movement that is drawn over and upon them. Repeating; "Over and upon."
Like for example, a grain of salt which is made up the the molecular form of sodium and chlorine. But what, and why is it that salt taste like salt, and smells like salt? And how do these molecules to by number manage to lock onto one another, yet have their exterior parts as were they neutral, or masked for polarity?
Everyone of these atoms in a molecule of salt is the essence of a minute magnet, and as such cling to one another, but in groups of with those on the outside under certain temperatures do not cling to others. This is something to work on if we knew by what coordinate these molecules operate.
And here is the point I wished to make; namely, the typical movement that proceeds over and by all of them in unison as the coordinate of it, and coordinates, (more than one) that ply on over those molecules. Since it is by these typical movements plying on over them that we have the taste as well as the smell of them.
And it is most likely by these coordinates that they successfully form to bunches, to the grains of. Which of course can be changed by any change in relative movement such as heat, or adding the molecules of water as a bonding agent.
By which then the pattern of their coordinates likewise changes. These then are as I said; ON OVER THEM, and not of nor upon each and every atom as such, but of the whole.
And so -what do we have? We have an atom that is not anything the likes of what
the men of this century have made of it. Electrons and protons as such do
not exist, nor is there electricity - as such - to be found within the atom.
And for the power or force needed to hold the atom together, a magnetic entity is the perfect agent to not only hold onto things but for its design draws it to a sphere.
The figure eight of force is universal, it is found in all stars, and upon all planets, and we secure it upon pieces of metal, as well as induce metals with it so that they may be driven from or drawn to it. For is the latter not the principle by which an electric motor is made to turn?
Additionally, coming to the second magnitude of nature, we have component factors, some of which are also drawn to a figure of eight, some with the ability to slip, and some that do not slip, while again others, as in gravity a somewhat different component is drawn.
Lastly within the first magnitude, there are the atoms well able to lock themselves unto one another, as well as drawing away from one another, all of which by that fundamental design of movement in eight.
And so the sum of all this becomes; "Matter in Motion by Coordination," the prime of which is known by the term of "Magnetic." And to it we must add another axiom that spells; "Movement to movement."
Now let us rehash the ideal of linear's to angular's and visa versa. When we view Figure 73-4, a metal bar with copper wire wound around it, we are apt to say that we are causing a flow of electrical movement to flow around the bar.
The reality of this is however somewhat different, for yes the wires do encircle it, but there is no flow within them, no moving through it. The current as it is present upon the wire merely rotates within and upon the wire, and as it is active it quells upon the material of the wire.
As then the direction of rotation is the same for all of the loops in the wire these are -- as illustrated -- forcing, or inducing a linear flow of overall movement with, and/or upon the metal bar. The movement of the coil thus is according to A, not according to B.
Let us understand this, how there is a difference in having a movement "of it" to that of "on over" it, a movement formed on over. Wherefore at times I pronounce to say; "overall" movement, or "greater" movement.
With any standard magnet, the greater movement is the figure of eight of the whole, which in turn are empowered by more local formations - as overall formations, that in turn reside over and upon the atoms, each having their individual form of magnetic.
Then let us speak of association, to come to a realization of how well that which
is accounted as immaterial, is so well related and susceptible to what is
accounted as material.
Like the waves of light how they pass any atom at the speed of light, making contact with it for but a very minute fraction of a second, and yet are very susceptible to them.
This in some way may be illustrated by Figure 73-5. The light as nothing more than like a coiled spring formation turning itself over and around the atom, never once invading the interior of any atom.
And having but a glance at any of them seeing how it must pass hundreds of atoms just to make a single circle in the circumference, yet it records that greater spacing that exist between atom 3 and atom 4.
This is something that I call absolutely phenomenal, how at that speed with an equally high moment of rotation it finds that little tiny spacing, (A) and instantly it stretches itself, showing the same to us by a red shift.
Then in the fraction thereafter- seeing how atom 5, is back at normal spacing (B), it instantly compresses itself back to where it was.
So what is it of that light-wave to be so susceptible and dependent upon the atom, that is to say upon its coordinate on the very edges thereof, which are the outer fringes of all those spinning movements, and occasionally for a minor distance pass around figures of eight, like light in water, or through glass.
I am factually astounded at the relation of these two entities, how very well light for its form and movement is affixed to the atoms, while its forward velocity is not even of the atoms, nor by them. It on the other hand is also very fragile and can be taken out at any bump to the contrary.
But mostly, by Figure 73-6-A, the atoms of Nitrogen allow it to be bypassed, as will Oxygen or any atom of a diameter not exceeding that by which light travels.
The reason that light has a diameter on that scale is because light is instigated by atoms, and not on the molecular level as many other waves are that pass through walls of wood and even of metal.
When however by B in the illustration it comes upon an atom of iron, that atom is too large to be bypassed, and it cannot be reflected from it - seeing how it just passed a lighter one connected to it, so it goes through the mill. (to C)
And of the many passing through it, it loses all but a few of its angular moments, those corresponding to the color of the iron as we interpret it.
But what is so fascinating about this is -- how for its astronomical speed and rotation, it - in coming upon that tiny point in nature is instantly directed into a return of its coordinate, but selective to specific angular moments relevant to that atom in its specific coordinate of.
And so stop to think about this - what absolute marvelous entities these atoms are, that while they in their magnetic nature join or disjoin themselves with other atoms, these movements are so profound that each different element has it own fingerprints, or signature as it may be said.
And so I wish to point out, light is not at all susceptible to that which is magnetic nor gravitational. The interior of that cube in Figure 73-6 is so because these 6 atoms are projecting a like direction in movement of themselves, each one of them repelling the other, making for the open cubical area.
And this is but a beginning in how truly profound these are, realizing how they faithfully conduct all the myriads of waves that pass upon them, as well as sound, and at all times lending themselves to the input of gravity.
But what really takes the cake, is; how very minute these angular moments are one from the other. For as shown in Figure 73-7, where a length of 7000 angstroms is shown upon a far greater than real diameter, the angular moments from 2000 to 3500 are very small.
How much difference thus one of 3000, shall be to one of 3010? And yet the atom recognizes them perfectly. (The reason for the half length measure is because they travel around the circumference.)
And for a more factual presentation look at the line above by X, in which the half lengths do not even span across the width of that thin line, so minute as these are.
Light thus for its reality and nature of is still a mystery, the only facts that we do know of light is what is presented by it. And equally so for color in and by what it comes about remains a mystery.
Therefore also I am at all times amazed at not only the complexity, but the perfection as well in how the Creator of all made these things, and that in endless quantities, utterly endless quantities.
Since then as you may conjecture, there is actually very little that I, or we know about the inner workings of the atom, how and in what way they promote all these marvelous feats.
STATIC ELECTRICITY.
It appears to be a very peculiar type of electricity than man has inserted into the atom, to call it; "Electrostatic." If then we look for the meaning of the term it reads"
"Motionless: as in not moving or changing, or, fixed in position of forces not causing movement: Relating to forces, weight, or pressures that act without causing movement."
And it is said: "Electrostatics is a branch of physics that deals with the phenomena and properties of stationary or slow-moving electric charges with no acceleration."
My suggestion now to the inhabitants of the earth is, to read these lines once again, as to what in fact is being said, and how that concurs with, or violates all that is beheld in nature.
Where they said; "A stationary or slow moving electric," Don't even mention that to anyone attempting to drive an automobile, or he wont have an engine to propel him on his way. And what then is my drift?
Those atoms on the top of the cylinders move mighty fast, rearranging themselves near the speed of light, wherefore they are anything but slow, nor stationary, and yes the power and force upon them is supposed to be electricity is it not? And yet worse, to be the static type.
The man is correct in this however that there is no acceleration with them, since their movement is instantaneous. But on second thought, the man is wrong in saying; "no acceleration," since he meant no increase in speed. And how will I explain; "instantaneous?" I won't bother.
If thus the electricity in the atom is supposed to be "motionless", "not causing movement", how is that kind of electricity to bond atoms, or re-arrange molecules to have a nail grow upon a finger, or the hair upon one's head, or that a baby grows into a full fledged person, or form anything at all?
Is not that so called electrostatic electricity supposed to move things around - so as to re-arrange the atoms that you may have your waffle all nicely baked with strawberries on top?
Come now don't be illogical, but come to realize how the air and everything is full of magnetic lines of movement, the whole earth being one large magnet within which we have our abiding.
And as anyone should know these lines are essentially straight, having their curvature but over the whole of the earth.
On our level thus they are as straight lines, and when you cause a conductor of electricity (copper wires) to turn within them, you cause them to be twisted in a frenzy of turns, not much different as when you twist a rubber band.
If then you wonder why these turns should end up being after the design of figures of eight, end on end, well take a rubber band, and twisting it, how does that appears to you?
But no less for any substance that is a none conductor of electricity, for while copper and other metals are able to hold on to the twisting form of electricity, confining it upon and within itself, a glass or plastic rod or even a human person will no less take it upon itself.
For it is so that one need do no more than twist or roll the normally straight magnetic lines into a rolling or turning formation, remembering how magnetic is straight, while electricity being the very same lines of magnetic but in rotating form.
It is said: "Static electricity is often created when two objects that are not good electrical conductors are rubbed together. This happens, when combing one's hair, or taking off a sweater. Sudden releases of built-up static electricity can take the form of an electric arc."
With static electricity there is no real power, and only occurs with none conductive substances, since if they were conductive it could be confined upon them, like batteries. At any other time the rotating lines of magnetic simply encompass the person or the rod.
And they are of a high degree of rotation, that interprets into high voltage. And why when a person, as in the illustration here (73 static) when she is electrified, her hair standing up, that static current is of a high degree of rotation?
This is because she is in free air and subject to the speed at which the lines of magnetic travel, whereas in comparison to a standard generator the voltage does not come so high -- since were are causing the armature to move with a limited velocity.
If we were to turn the armature faster and faster, the voltage will become high and higher. And like thunderstorms, how come the lightning can be so powerful, as compared to that voltage from a Van de Graaf generator?
We were talking about conductive and none conductive materials as they pertain to electricity, and since water is in effect a conductor of electricity, so when there is lightning - there are clouds of rain.
When
it comes to conductive or none conductive the same is found with the straight
kind of electricity, namely magnets. Some materials can actually retain the
figure of eight, while others in conducting it can be moved by it with still
other not moved by it.
And so let us ask if atoms are conductive or none conductive entities? If they are none conductive how do they twist magnetic lines so that the hair upon their head may be raised? Or if conductive how come we do not get jolted each time we touch anything?
The question in all respects is irrelevant since these as such by the very movement in all of the universe are made into magnets, the none rolling type of magnetic, as all stars and planets are.
The only time when these can be spoken of in way of electric is when upon a whole bunch of them (the 3M lines) are driven into a circular motion, like as one does when on a dry or cold day you scuff your feet upon a carpet, or stroke a glass rod.
In all respects, atoms are none conductive as magnets are none conductive. And though you may place a wire upon a magnet to conduct the electric, it will remain a magnet. It is the movement that is conductive.
That electricity is a rotating magnetic field should in all respects be obvious. And that it are turns of movement is likewise obvious when we consider how by nothing more than adding "physical" turns we increase the speed of rotation, since turns of movement compensates for turns of movement.
It is similar to gravity that is also caused by movement and increased or decreased by the speed at which the movement is brought about.
ATOMIC SUBSTANCE
Now let us go back to the atom at its very core. At page 71, we started out with the question; "What is the atom, and how does it work?"
And now that we have the atoms as miniature magnets it is next to nothing to figure out how molecules are formed seeing how any one magnet will surely draw to the other.
And we can understand how there are these open holes in the grid since aside of attracting to one another, they will also draw away from each other - forming the open holes in the grid as by Figures 71-4 and 71-7.
But are we there? Do we really have an answer? Hardly so! We barely scratched the surface, for we have yet to figure out what makes them tick.
By Figure 73-8, at let us presume the finite dust as metal filings. And so by "A" we have a pile of it upon which to draw the magnetic figure of eight. And yes sir it worked, the whole pile clung together and by the design of that eight it turned into neat little ball. (X)
But when we try to do the same thing at B, with a pile of sawdust, our magnetic figure of eight refused to cooperate, for even if we glued it into a ball, (Y) our magnetic friend would not inhibit it, nor empower it as a magnet of any kind.
And so what is wrong? For it is all good and well to acclaim that our atoms are like magnets, but how so are they like magnets? We can hardly believe that the basic substance of the universe consists of metal filings, nor even that it consists of sawdust.
Have I therefore destroyed my own so called notions regarding the atom? If I have, then along with my own I have equally destroyed man's theories regarding the atom.
For I at least put something in the atom that does cling to one another, and that is ideally suited to keep their back ends at a distance to make for the open grids in the structure of things; while man's electricity has no means at all to push nor pull.
And so what is the answer? The answer is that we are as yet a long ways from comprehending the reality in our atoms.
If we backtrack to Figure 73-8, the reason that those metal filings became empowered as a full fledged magnet is because, they themselves are atoms of the structural kind that lend themselves to being drawn.
And while the sawdust refused itself to be drawn as the metal did, these rascal are equally as much atoms of a kind, although not so magnetically inclined.
And so we were looking in wrong closet, were we not? Or wandering in the wrong ball-park, since we turned our sights to the third magnitude, rather than the first magnitude.
As then a little while ago I noted saying: And to it we must add another axiom that spells; "Movement to Movement," let us endeavor it with an illustration noted Figure 73-9. KK.
If all atoms are miniature magnets we should have no problem at all since movement to movement is equal to the whole of magnetism, and each one of these atoms will perform perfectly to form the grids found in nature.
But here again, this is not the point, is it? Since it does not explain how they (these atoms) came to be magnets, nor what in all reality the substance is upon which they came to be induced as individual figures of eight.
It is an obvious fact that we do not need gravity to make for a ball - since a magnet all in itself is well able to hold things together. But this is not altogether so is it? Since a lump of things is not necessarily a ball, like a nucleus.
So even if the fundamental substance of the universe had a magnetic nature upon itself, how are we to explain that core, that nucleus to become a ball or sphere, which as we know is readily done by gravity, provided the substance is lose enough to be drawn to a sphere.
We can pretty well forget our finite dust (nature's substance) as having the nature of sawdust, and equally so as having a metallic nature. And yet our earth is neatly rolled into a ball within which not everything is metallic, as in fact most of its surface is but water and rock, both of which look at a magnet as were it but a stranger.
Or is that not really so, seeing how earth's magnetic field holds everything in its embrace? And rightly so, but that is because of a factor named gravitational descend, (Figure 73-9 MM.) Whereas within the atom there is no such thing as a gravitational descend.
Since again the atoms in nature are the very ones providing that gravitational descend in conjunction with a movement in the linear, that by the magnetic potential is looked upon as if they wish to depart, and responding with a due hold upon them draws them to an orbital trajectory.
And
so we are not any further than when we started in how the atom becomes a
magnetic entity, and what that entity may consist of.
In our view we only know of two ways whereby a heap of material may be turned into a sphere. In one by figure 73-8, it was a pile of metal filings, and the second by Figure 73-9, it was gravity.
As then we have eliminated space to consist of metal filings, there is however that gravity in space. But let us not be overjoyed in that respect since that gravity in space is of limited distances - of the stars as well as planets.
The "real" of nature in any distance belonging to the man of force that goes by the name of magnetism. And how is gravity, the ones known with planets and stars to compute its way into any one atom, other than perhaps to "quell"?
We are merely torturing ourselves are we not by attempting to comprehend that which for all reality is incomprehensive, namely the substance of which everything is made, the very nomenclature of the atom.
For while by all observation, and by law, and logic together with common sense as well, it appears more than plausible for the atoms to be magnetic entities, it being the only way by and in which the structures in nature may be formed, - but we are as yet at a loss to explain the how and why.
Two things then there are which we must take in consideration, the first is the substance of the atom in what it might be. And how to get to that is like chasing a wild goose, that it not to be found unless it is presented to us, by none other than the Almighty Creator of it.
The second then -- in how all these many points came to be after a figure of eight upon them -- is much easier, or so it may appear. If we employ where I said; "Movement to Movement," we might as yet get somewhere.
But there is still that fundamental universal substance upon which the eight of magnetic is to quell. If not so, then there are no atomic cores, no nucleus, nor those so called rings of substance to encircle it.
By plasma we mean a combination of atoms and/or parts of an atom. For even if we made it to be only a gas, even gas is made up of atoms, wherefore the term plasma belongs in the third magnitude, and we are still at a loss for our first magnitude.
As then we consider the solar wind, what might it be? If it be thin or as light as a gas we still have not left our third magnitude. And for the colors of the nebula's which we observe, claiming it to be gaseous, we are again within that third magnitude of nature.
We need an ether do we not? Something other than what is made up by molecular structures, or single atoms in themselves. But since an ether as such is but a dream, much like protons and electrons are, we are not getting any closer to our goal.
I now said; "Movement to Movement," whereas at this time I should add to say; Movement, to Movement, to movement." For where movement to movement is conductive, so movement to movement, to movement is in itself conductive. A riddle perhaps but true.
I might concede to say; that there is gravity, and there is gravity. And if one can be called - "an inclination," what shall we call the other? As I see it, it's no fun to dine all by myself.
And what else shall we conjecture, or torture ourselves upon to be valid? Or what is it than man will demand of me, when in all these years he had not the backbone to answer nor to reply to me?
Perhaps it is time to lay ourselves down by what King Solomon said, "How that which exists is inconceivable," so as to no longer torture ourselves.
For is not this what He also said; "Vanity O vanity, to search out secrets is a torturous task which God has given the children of man to therewith pain himself."
If then I have been pained for these many long years, why not a little for others as well.
Plasma
It should by now be obvious how space is anything but empty, the nebula's alone show it, and so do the asteroids as they form a visible tail in the solar wind driven by the sun.
And what might that be? Since then man's scientists have it all in the bag, with protons and electrons etc., etc., I am not that well educated. Or, here is another quest; with the sun blowing out all that wind, how come that by now it is not depleted?
This much however I do know, that the wind nor the nebula's, consist of protons nor electrons, or the likes, for if anything there must be parts bearing forth coordinates seeing -- how light is reflected or refracted by it.
If then one will get my drift, let it be a mystery, as in fact it is but a mystery to us, with our findings as but speculation. And concede to these facts that space is not empty, and that our knowledge of the atom will remain extremely limited.
Nor should I comment on it any further since it would be no more than speculation, besides the fact that at this point there is a threshold.
Yet as such the heavens are beautiful to behold, let us therefore marvel at the grandeur and majesty of Him who created all that beauty, in such inconceivable ways.
For here once again I am going to quote what Solomon so wisely said; "Inconceivable is what exists."
![]()